当前位置:首页 > 振动筛 > 矿用振动筛 >

矿用振动筛( KZS系列)

矿用振动筛

KZS系列矿用振动筛产品概述:

KZS系列矿用振动筛采用振动电机激振、橡胶弹簧减振以及先进的自同步振动原理,具有寿命长、噪音低、筛分效率高、体积小、重量轻、耗能少、结构简单、造型美观等特点,适用于烧结矿、自然矿、焦炭及其它颗粒物料的高能筛分。

KZS系列矿用振动筛使用范围:

KZS系列矿用振动筛广泛应用于矿山、煤炭、冶金、建材、耐火材料、轻工、粮食等各行业对大块物料及中、小颗粒物料的分级作业。

KZS系列矿用振动筛型号含义:

2 KZS P □ □
┬ ┬ ┬ ┬ ┬
│ │ │ │ │
│ │ │ │ └────────── 筛面长度dm
│ │ │ └───────────- 筛面宽度dm
│ │ └───────────── 普通电机
│ └──────────────- 矿用振动筛
└──────────────── 双层筛面(单层不写)

KZS系列矿用振动筛技术参数表: 

型号 筛分能力 振幅 mm 筛面倾角 。 电机型号 外形尺寸
(长×宽×高)mm
入料粒度 mm 生产能力t/h
2KZS6-15 ≤30 8 5—7 0°-15° YZS10-6 2035×1070×1430
2KZS9-18 ≤50 15 5—7 0°-15° YZS20-6 2200×1420×1660
2KZS12-24 ≤100 20 5—7 0°-15° YZS30-6 2793×1800×1860
2KZS12-30 ≤120 25 5—7 0°-15° YZS50-6 3250×1800×2290
2KZS15-30 ≤150 35 5—7 0°-15° YZS75-6 3400×2220×2220
2KZS15-36 ≤150 50 5—7 0°-15° YZS75-6 4050×2160×2210

 

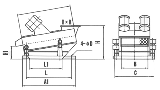
KZS系列矿用振动筛外形尺寸表:

矿用振动筛

型号 A A1 B C L L1 H H1 E φD
2KZS6-15 1500 1500 600 1040 1300 1050 1130 200 450 17
2KZS9-18 1800 1900 900 1384 1600 1100 1340 230 600 17 10°
2KZS12-24 2400 2300 1200 1756 2100 1500 1550 400 800 21 10°
2KZS12-30 3000 2890 1200 1756 2690 1200 2040 480 800 21 15°
2KZS15-30 3000 2890 1500 2160 2540 1650 1820 400 900 25 10°
2KZS15-36 3600 3200 1500 2160 2700 2420 1930 290 1000 25 10°

 

订货说明:
    选型及定货时应注明筛网层数、筛面倾角、筛网结构(棒条、编织、冲孔)、网孔规格、处理量、物料名称、入料粒度、出口方向、材质、电机侧装或上装等,我公司可根据客户要求定做各种型号的矿用振动筛。

上一篇:没有了 下一篇:煤粉振动筛(MFS系列)