当前位置:首页 > 技术知识 >

滚筒筛分机的改进措施有哪些

  上一节我们分析了某化肥厂中滚筒筛分机的故障,那么怎么进行改造呢,我们推荐的改进措施如下:
    1、改变方隔垫外形
    为使梳煤板能够深入筛圈,达到有效清理筛筒积煤的目的,通过改变联接轴与筛圈连接的方隔垫形状的方法,消除影响梳煤板安装深度的陷,梳板探入筛圈深度由原来的 4 ~5 mm 增加至 12 mm,穿过筛圈2 mm,达到了彻底清理筛圈间积煤的效果。如图 5 所示。
图 5 方隔垫改进前后对比
图 5 方隔垫改进前后对比
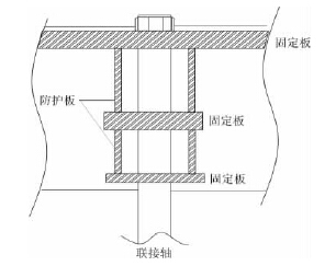
    2、增加联接轴连接强度及防冲刷保护
    在滚筒筛分机的筛筒出入口滚圈联接轴固定处,增加20mm固定钢板,以达到增加连接强度、降低扭力的 作用; 并且为防止物料对联接轴的磨损,在筛筒两端联接轴的两侧增加了10mm防护钢板,保护联 接轴免受煤流冲刷。改进后的联接轴固定方式如 图 6 所示。
图 6 改进后的联接轴固定方式示意
图 6 改进后的联接轴固定方式示意
    3、延长筛筒进料端滚圈宽度
    为了避免煤流进入筛筒时直接冲击进料端筛圈,从而造成筛圈严重磨损的问题,采取了将筛筒进料端去除部分筛条,并将滚圈适当加宽20cm ( 现场实际测量) 的方法,使煤流落点避开容易磨损变形的筛圈,落至延长的滚圈钢板上,避免了对筛圈的冲击磨损,同时便于后期的磨损修复。